
চীনা স্মার্টফোন প্রস্তুতকারক ওপ্পো একটি অপসারণযোগ্য ক্যামেরা তৈরি করছে যা আপনি সেলফিগুলির জন্যও ব্যবহার করতে পারেন। এটি স্ক্রিনে একটি ক্যামেরা ছিদ্রকে অপ্রয়োজনীয় করে তুলবে, তবে এর বাইরে আরও অনেক সুবিধা রয়েছে।
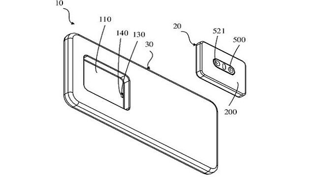
অপ্পো অপসারণযোগ্য ক্যামেরার জন্য পেটেন্ট দায়ের করেছে। বা বরং একাধিক ক্যামেরা। এটি বিভিন্ন লেন্স সহ একটি মডিউল যা আপনার স্মার্টফোনের পিছনে স্ট্যান্ডার্ড হিসাবে ক্লিক করা হয়। আপনি কি সেলফি তুলতে চান? তারপরে আপনি মডিউলটি সরিয়ে আপনার ফোনের ইউএসবি-সি বন্দরের সাথে সংযুক্ত করুন। আপনি অবশ্যই ভিডিও কল করতে বা একটি জুম মিটিংয়ে অংশ নিতে পারেন।
ক্যামেরা মডিউলটির নিজস্ব ব্যাটারি রয়েছে এবং এতে এনএফসি, ওয়াইফাই এবং ব্লুটুথ রয়েছে। তার মানে আপনার স্মার্টফোনে ক্যামেরা সংযুক্ত না থাকা সত্ত্বেও আপনি ফটো তুলতে পারবেন। একজন ছোট ফটোগ্রাফার তাত্ক্ষণিক সম্ভাবনাগুলি দেখেন।
উদাহরণস্বরূপ, আপনি মাটির নীচে ফুলের ছবি তুলতে মডিউলটি ব্যবহার করতে পারেন। আপনি ঘাসে ক্যামেরা রেখেছেন এবং চিত্রটি মূল্যায়ন করতে এবং স্ন্যাপশট নিতে আপনি সোজা হয়ে দাঁড়াতে পারেন। যা নোংরা হাঁটু বাঁচায়।
কমপক্ষে তত্ত্বের ক্ষেত্রে আরও একটি সুবিধা হ'ল আপনি ক্যামেরা মডিউলটিকে নতুন দিয়ে প্রতিস্থাপন করতে পারেন। আপনি যদি এখনও আপনার স্মার্টফোনটিতে সন্তুষ্ট হন তবে আরও ভাল ক্যামেরা চান, কেবল অন্য একটি অর্ডার করুন। এটি অবশ্যই সম্ভব যদি ওপ্পো পৃথকভাবে মডিউলগুলি বিক্রয় করতে পছন্দ করে।
দুর্ভাগ্যক্রমে, অসুবিধাগুলিও রয়েছে। মডিউলটি ছোট এবং আপনি এটি সহজেই হারাতে পারেন। তদুপরি, প্রশ্নটি হল যে লোকেরা ক্যামেরাটি তাদের স্মার্টফোনের ভিতরে এবং বাইরে রাখতে চায় কিনা। এলজি 2016 সালে এলজি জি 5 এর জন্য বিভিন্ন মডিউল চালু করেছিল। উদাহরণস্বরূপ, আপনি ডিভাইসে একটি শারীরিক শাটার বোতাম যুক্ত করতে পারেন এবং একটি অডিও রূপান্তরকারী যা শব্দটির উন্নতি করেছে। সেই ব্যবস্থা সফল হয়নি।
ওপ্পোর অপসারণযোগ্য ক্যামেরাটি মূলত পর্দার সেলফি হোল থেকে মুক্তি পাওয়ার উদ্দেশ্যে করা বলে মনে হচ্ছে। সাম্প্রতিক বছরগুলিতে এর জন্য অনেক কৌশল তৈরি করা হয়েছে। আসুস জেনফোন (প্রো)-তে একটি ফ্লিপ ক্যামেরার অপসারণ করেছে, ওয়ানপ্লাস একটি পপ-আপ ক্যামেরা সহ ওয়ানপ্লাস 7 প্রো সরবরাহ করেছে।
প্রতিযোগী জেডটিই সেপ্টেম্বরে অ্যাক্সন 20 5 জি প্রকাশ করেছে। চীনা নির্মাতার মতে, এটিই পর্দার পিছনে একটি সেলফি ক্যামেরা সহ প্রথম স্মার্টফোন। আপনি এটি পছন্দ করেন না তবে আপনি এটির সাথে ছবি তুলতে পারেন।
source: Tech Handset and OPPO working removable camera modules
আমি আরিফুল ইসলাম। বিশ্বের সর্ববৃহৎ বিজ্ঞান ও প্রযুক্তির সৌশল নেটওয়ার্ক - টেকটিউনস এ আমি 5 বছর 12 মাস যাবৎ যুক্ত আছি। টেকটিউনস আমি এ পর্যন্ত 15 টি টিউন ও 1 টি টিউমেন্ট করেছি। টেকটিউনসে আমার 1 ফলোয়ার আছে এবং আমি টেকটিউনসে 1 টিউনারকে ফলো করি।