
আশা করি সবাই ভালো আছেন। কিন্তু আমি ভালো নাই। একের পর এক ঝামেলা বিতর্ক আমাকে মানসিক ভাবে ভেঙে ফেলেছে। তবুও আপনাদের অনুরোধে বরাবরের মত আবারও ফিরে আসলাম আপনাদের ভালোবাসা এবং প্রশংসা কুড়াতে। আপনাদের ভালো লাগার জন্যই এত কস্ট করে টিউন করা। এই কস্ট স্বার্থক হয় তক্ষুনি যখন এই কস্টের ফসল আপনাদের ভালো লাগে আপনাদের উপকারে আসে। যাই হোক আর কথা বাড়াবো না। আপনাদের কে নিয়ে যাচ্ছি মুল টিউনে।
আমার ৫০তম টিউন ছিলো ফায়ার আর্মসের উপরে। টিউন টি ব্যাপক জনপ্রিয়তা পায় কারন তা আপনাদের ভালো লেগেছিলো। আপনাদের ভালোলাগার কথা চিন্তা করে তাই আবার আপনাদের কাছে এসেছি ফায়ার আর্মস নিয়ে। এইবার চেইন টিউনের মাধ্যমে, একে একে আপনাদের পরিচয় করিয়ে দিবো সুপার হেভিওয়েট ফায়ার আর্মস গুলোর সাথে, সাথে দেখবেন এদের ধ্বংসাত্মক ক্ষমতা। আর মিটাবেন আপনাদের জ্ঞানের পিপাসা।
কিছু ব্যক্তিগত ঝামেলা এবং কিছু বিতর্ক আমার ফায়ার আর্মস টিউন গুলোর সাথে সম্পৃক্ত হয়ে পরেছে। আমি যা করি টেকটিউনস কমিউনিটির ম্যাজরিটির সিদ্ধান্তেই করি। আমার আবার টিউনিং এ ফিরে আশা এই টেকটিউনস কমিউনিটির সিদ্ধান্তেই............................................
.
দয়া করে কমেন্টে আপনার মুল্যবান মতামত দিবেন এটাই আশা করি।
--------------------------------------------------------------------------------------------------------------------------------

আমার আজকের টিউনের বিষয়,
এই গ্রেনেড নিয়ে কিছু হাল্কা পাতলা বর্ননা আমার অবশ্য প্রথম টিউনে ছিলো, পরে নেট ঘাটাঘাটি করতে গিয়ে জানলাম যে এর ভাণ্ডার আসলে অনেক বড়। তাই এর স্থান হল আলাদা একটি টিউনে যেটি এখন আপনারা পড়ছেন।
গ্রেনেড এক বিধ্বংসী ফায়ার আর্মস,

হাজার বছর আগে চাইনিজদের আবিস্কৃত গান পাউডার বদলে দেয় সমরাস্ত্রের ধরন। তখনকার দিনে গ্রেনেড বোমায় ব্যবহৃত হত গান পাউডার। তবে সেগুলো খুব একটা উন্নতমানের এবং নির্ভরযোগ্য ছিলনা।
আর সকল প্রযুক্তির সাথে সাথে গ্রেনেডেরও উন্নয়ন ঘটানো হয়। ধীরে ধীরে এক সময় এসে এটি পূর্নতা পায়। বর্তমানে এটি যুদ্ধক্ষেত্রে অতি প্রয়োজনীয় এবং নির্ভরযোগ্য একটি অস্ত্র। দেখতে ছোট হলেও কিন্তু এর কর্ম ক্ষমতা মোটেও ছোট নয়। আতা ফলের মত ছোট্ট এই মারণাস্ত্রটির ধ্বংস ক্ষমতা আপনাদের কল্পনার ও বাইরে। এটি মুলত যুদ্ধক্ষেত্রের অস্ত্র হলেও বিভিন্ন নাশকতা মুলক কাজে এর ব্যবহার দেখা যায়। এটি শান্ত শিষ্ট একটি পরিবেশ কে ৩.৫সেকেন্ডের মাঝেই করে ফেলতে পারে নরক। আমাদের মহান মুক্তিযুদ্ধেও এর ভুমিকা ছিলো অপরিসীম, পাকিস্থানি হানাদের ভুগর্ভস্থ বাংকার গুলো ধ্বংসে এটি ছিলো অত্যান্ত কার্যকর।
কার্যপ্রক্রিয়ার উপর ভিত্তি করে গ্রেনেড প্রধানত দুই ধরনেরঃ
---------------------------------------------------------------------------------------------------------------------------
এই ধরনের গ্রেনেডকে হ্যান্ড গ্রেনেডও বলা হয়। ১৯ শতকের ভয়াবহ যুদ্ধ সমূহে এ জাতীয় গ্রেনেড ব্যপক হারে ব্যবহৃত হয়েছে। টাইম ডিলে গ্রেনেড গুলো সাধারনত সেফটি পিন খুলে হাত দিয়ে ছুঁড়ে মারা হয় এবং একটি নির্দিস্ট সময় পর এটি বিস্ফোরিত হয়। এই সময়টি সাধারনত হয় ৩-৪ সেকেন্ড।
এ জাতীয় গ্রেনেড এর কার্যপ্রক্রিয়া অনেকটা উড়োজাহাজ থেকে ছুঁড়ে মারা বোমার মত। অর্থাৎ এই গ্রেনেড টার্গেটকে স্পর্শ করার পর পরই বিস্ফোরিত হয়। Impact Grenade হাত দিয়ে নিক্ষেপ করা হয় না। এটি সাধারনত গ্রেনেড লাঞ্চার থেকে নিক্ষেপ করা হয়। এছাড়াও এক ধরনের মেশিনগান রয়েছে যেটিতে সাধারন বুলেট এর বদলে ব্যবহৃত হয় ইম্প্যাক্ট গ্রেনেড বুলেট!
.
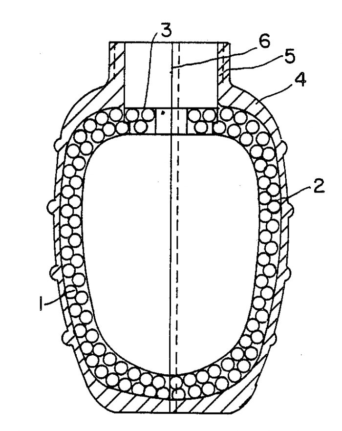
আধুনিক টাইম ডিলে গ্রেনেডের সাধারনত ৩টি অংশ থাকে। যথা.......

এটি গ্রেনেডের কাঠামো যা সকল গ্রেনেডের সকল অংশ ধারন করে। এটির মাঝেই স্টিল বল অথবা স্পিন্টার লাগানো থাকে।
এটি গ্রেনেডের ভিতর বিস্ফোরক অথবা রাসায়নিক পদার্থ। এটিই গ্রেনেডের আসল অংশ, যেটিকে ডেটোনেট করে বিস্ফোরিত করা হয়।
এটিকে গ্রেনেডের ব্রেইন বলা যেতে পারে। কারন ডেটোনেশনের মেকানিজম এবং ডিলে টাইম, এটির মাধ্যমে নিয়ন্ত্রিত হয়।

- *গ্রেনেডের আধুনিক ডায়াগ্রাম
তবে কোন কারনে ভিতরের রাসায়নিক পদার্থের গুনগতমানের পরিবর্তন ঘটলে এই সময় কম-বেশি ২-৮ সেকেন্ড হতে পারে। এর মারণক্ষমতা সুনির্দিষ্ট কিন্তু ক্ষুদ্র এলাকায় সীমাবদ্ধ থাকে। (৫ মিটার ব্যাসার্ধের এলাকা) আহত করার দূরত্ব বেশ বড়, প্রায় ১৫ মিটার ব্যাসার্ধের এলাকার দূরত্বের মধ্যে থাকা ব্যক্তিদের আহত করতে পারে।
.
Time-Delay গ্রেনেডগুলো সাধারনত খাঁজকাটা লোহার ধারক দিয়ে তৈরি হয়। এর ভেতরে একটি ফিউজ মেকানিজম থাকে এবং বাকি অংশে থাকে বিস্ফোরক পদার্থ। ফিউজ মেকানিজম সক্রিয় করার জন্য থাকে একটি Striker যেটি Striker Lever দিয়ে আটকানো থাকে।
![]()
আর লিভারটি ধরে রাখার জন্য এতে লাগানো থাকে একটি নিরাপত্তা পিন। পিনটি খুলে দিলে Striker কে ধরে থাকা লিভারটি চাপমুক্ত হয় এবং Striker ছুটে গিয়ে আঘাত করে Percussion Cap এ। এরপর এটি কেমিক্যাল মেকানিজমকে সক্রিয় করে দেয় যা কয়েক সেকেন্ড পর ডেটোনেটরকে সক্রিয় করে। ডেটোনেটর গ্রেনেড এর ভেতরে থাকা বিস্ফোরক পদার্থ সমূহকে ডেটোনেট করে এবং বোমাটি বিস্ফোরিত হয়।
আর স্মোক অথবা গ্যাস গ্রেনেডের ক্ষেত্রে, পিন খুললে দুটি রাসায়নিকের মিশ্রন ঘটে এবং বিষাক্ত গ্যাস অথবা রঙিন ধোঁয়া তৈরি হয় যা একটি নির্দিস্ট এলাকার শত্রুকে মেরে ফেলে অথবা ধ্রুমজাল তৈরি করে,
Impact Grenade এর সম্মুখভাগে Impact Trigger নামে একটি অংশ থাকে এবং এটি স্প্রীং দিয়ে মূল কাঠামোর সাথে সংযুক্ত করা থাকে। গ্রেনেড যখন নিক্ষেপ করা হয় তখন Percussion Cap এবং Detonator কে ধরে থাকা স্প্রীংটি সামনের দিকে এগিয়ে যায়।

![]()
![]()
![]()
গ্রেনেডের সামনের অংশ অর্থাৎ ইমপ্যাক্ট ট্রিগার যখন টার্গেটকে স্পর্শ করে তখন এর সাথে লাগানো Firing Pin টি Percussion Cap কে আঘাত করে এবং ডেটনেটরটি সক্রিয় হয়ে মূল বিস্ফোরককে ডিটোনেট করে দেয়। তারপরই গ্রেনেডটি বিস্ফোরিত হয়। এই গ্রনেড টাইম ডিলেয় গ্রনেড এর মত সময় নেয় না, বরং টার্গেটকে আঘাত করার সাথে সাথেই বিস্ফোরিত হয়।
মূলত এই দুই ধরনের গ্রেনেডই রয়েছে এবং এর কার্যপ্রক্রিয়ার উপর ভিত্তি করে আরও বিভিন্ন ধরনের গ্রেনেড তৈরি করা হয়েছে। আজকে ইম্প্যাক্ট গ্রেনেড নিয়ে বেশি আলোচনা করবো না।
.
এই Time-Delay গ্রেনেড গুলো আবার ২ প্রকার যথা,
.
.
বিপুল ধ্বংস ক্ষমতা সম্পন্ন এই গ্রেনেড প্রজাতি খুব জনপ্রিয় ডিফেন্স মিলিটারি এবং অপরাধ জগতে। সকল গ্রেনেডের মাঝে এটির ব্যবহার সবচে বেশি। এটি বেশ সহজলভ্য হওয়ায় এর অপব্যবহার ও বেশি হয়। আমাদের মুক্তিযোদ্ধাদের কাছেও তুমুল জনপ্রিয় ছিলো "Mills Bomb" নামক গ্রেনেডটি।
ফ্র্যাগ গ্রেনেড গুলো বিশেষ ভাবে বিস্ফোরিত হয়। এগুলোর ভিতরে অসংখ্য স্টিল বল বা স্পিন্টার থাকে যা বিস্ফোরনের পর চারদিক থেকে টার্গেটে বুলেটের মত আঘাত হানে। অনেকটা উপরের চিত্রের মত। যা টার্গেটকে ছিন্ন বিচ্ছিন্ন করার পাশাপাশি ঝাঁঝরা করে দেয়।



- *গ্রেনেড হামলায় আহত এবং নিহত ব্যাক্তিরা
তো চলুন এর কিছু জনপ্রিয় সদস্যকে............

Name:- M67 Grenade
Specifications:-
| Weight | 14 oz (400 g) |
|---|---|
| Length | 3.53 in (88 mm) |
| Diameter | 2.5 in (64 mm) |
| Filling | Composition B |
| Filling weight | 6.5 oz (180 g) |
| Detonation mechanism | Pyrotechnic delay M213 fuse—4 seconds |
-

Name:- M26 Grenade
Specifications:-
| Weight | 454g[1] |
|---|---|
| Length | 99mm[1] |
| Diameter | 57mm[1] |
| Filling | Composition B |
| Filling weight | 164g[1] |
| Detonation mechanism | Timed Friction Fuse |
-
Name:- M9 Grenade
Specifications:-
এই গ্রেনেডটি অত্যান্ত আধুনিক এতে রিমোট ডেটোনেশনের সুবিধা আছে, এটি রিমোট বম্ব এবং গ্রেনেড হিসাবে ব্যবহৃত হয় বলে এটিকে ডুয়েল পারপাস ওয়েপন বলে।
| Size |
|
| Damage Per Hit | Very High |
| Maximum Ammunition |
|
| Fire Mode | Thrown |
| Ammunition Type | Fragmentation shrapnel
|
| Accuracy | Depends On Throw |
| Range | Depends On Throw
|
-
Name:- F1 Grenade
Specifications:-
২য় বিশ্ব যুদ্ধের সবচেয়ে জনপ্রিয় গ্রেনেড। এটির বিস্ফোরক হিসাবে ৬০গ্রাম টিএনটি ইউজ হয়। এটি ৩০ মিটার ব্যাসার্ধের বৃত্তাকার এরিয়ায় এর ধ্বংসযজ্ঞ চালাতে পারে।
| Weight | 600 g |
|---|---|
| Length | 130 mm |
| Diameter | 55 mm |
| Filling | Trinitrotoluene |
| Filling weight | 60 g |
-
Name:- Model 24 Stielhandgranate
Specifications:-
এটি একপ্রকার ব্যতিক্রমী গ্রেনেড অনেকটা লম্বা আকৃতির এবং বিপুল বিধ্বংসী ক্ষমতা সম্পন্ন। ২য় বিশ্বযুদ্ধের সময় ব্যপক ভাবে ইউজ হত। এগুলো ইম্পপ্যাক্ট ডেটোনেশন সিস্টেমের মানে টার্গেটে আঘাত করার পরপরই বিস্ফোরিত হয়।
| Console(s) | Stielhandgranate |
| Damage | 250-10 (SP), 120-5 (MP), 50 (Melee) |
| Maximum Ammunition | 10 rounds |
| Radius | 350in |
| Used by | German Military |
-

Name:- Mills bomb
Specifications:-
২য় বিশ্বযুদ্ধ এবং আমাদের মহান মুক্তিযুদ্ধে তুমুল জনপ্রিয় ছিলো এই গ্রেনেডটি। সুপার হেভিওয়েট এই গ্রেনেডটি শত্রু পক্ষের অনেক ব্রিজ এবং বাংকার ধ্বংসে ব্যবহৃত হয়েছিলো।
| Weight | 765 grams |
|---|---|
| Length | 95.2 |
| Diameter | 61 |
| Filling | Baratol |
| Detonation mechanism | 7 seconds, later reduced to 4 |
-
![]()
Name:- M17 Rifle Grenade
Specifications:-
এটিও ব্যপক ভাবে ২য় বিশ্বযুদ্ধের সময় ইউজ হয়েছিলো। অনেকটা লম্বা আকৃতির এই গ্রেনেড গুলি ভালোই ধ্বংসাত্বক। সাধারনত ছাদ বা উচু টাওয়ার থেকে এগুলো নিক্ষেপ করা হত। এগুলোও ইম্পপ্যাক্ট ডেটোনেশন সিস্টেমের মানে টার্গেটে আঘাত করার পরপরই বিস্ফোরিত হয়।
| Weight | 667g[1] |
|---|---|
| Length | 248mm[1] |
| Diameter | 57mm[1] |
| Filling | TNT or EC powder |
| Filling weight | 22g[1] |
| Detonation mechanism | Impact Fuse |
-

Name:- Nuka Grenade
Specifications:-
এগুলো হোম মেড গ্রেনেড মানে অনেকটা জেএমবি দের বানানো বোমার মত। তবে ভীষণ শক্তিশালী। উপকরন দিলে আর প্রসেস জানলে আপনারা সবাই বানাতে পারবেন। প্রসেস অবশ্য পেয়েছি তবে সেটা শেয়ার করছি না, যদি দেই তবে মডুরা নির্ঘাত ব্যান দিবে।
-
Name:- Type 91 Grenade
Specifications:-
ভীষণ শক্তিশালী এই গ্রেনেডটি অত্যান্ত ভয়াবহ। ১০ইঞ্চি পুরু ১০ফিটের কংক্রিটের দেয়াল সম্পুর্ন উড়িয়ে দেয়ার ক্ষমতা রাখে এই গ্রেনেড। এর প্রথম ব্যবহার হয় জাপানে।
| Weight | 530 grams |
|---|---|
| Filling | TNT |
| Filling weight | 65 grams |
| Detonation mechanism | Pyrotechnic delay of 7 to 8seconds |
-

Name:- Type 97 Grenade
Specifications:- আগের গ্রেনেডটির আরো উন্নত সংস্করন হচ্ছে এটি।
| Weight | 0.45 kg (16 oz) |
|---|---|
| Length | 98mm (5⅞ in) |
| Filling | TNT |
| Filling weight | 2.2 ounces (65 grams) |
| Detonation mechanism | Pyrotechnic delay 4 to 5 seconds |
-
Name:- Mk 2 grenade
Specifications:-
US ডিফেন্স মিলিটারির প্রিয় গ্রেনেড এটি। ইরাক আফগানিস্থান যুদ্ধে এটি ব্যপক ভাবে ইউজ হয়েছে। এর ভয়াবহতা ব্যাপক।
| Weight | 1 lb 5 oz |
|---|---|
| Filling | TNT or EC blank fire powder |
| Filling weight | 2 oz |
| Detonation mechanism | Timed Friction Fuse |

Name:- M33 grenade
Specifications:- এগুলোও ইউএস মিলিটারিতে খুব জনপ্রিয়। সাইজে ছোট হওয়ায় সহজে বহনযোগ্য কিন্তু ধ্বংস করার ক্ষেত্রে কিন্তু এটি মোটেও ছোট নয়!
| Weight | 450 grams |
|---|---|
| Length | 50.2 |
| Diameter | 53.5 |
| Filling | RDX |
| Detonation mechanism | 4.5 sec |
-----------------------------------------------------------------------------------------------------------------------
.
আলোরন সৃষ্টিকারী এই ধরনের গ্রেনেডগুলো অত্যান্ত উচু মানের বিস্ফোরক সমৃদ্ধ। এগুলোতে কোন স্টিল বলস বা স্পিন্টার থাকে না। এর বিস্ফোরণ ক্ষমতা ফ্র্যাগ গ্রেনেড অপেক্ষা অনেক অনেক বেশি। এটি থেকে এত বেশি পরিমান শব্দ এবং বিপুল শক ওয়েভ নির্গত হয় যার ফলে কানের পর্দা ফেটে টার্গেট সম্পুর্ন বধির এবং অন্ধ হয়ে যায়। এছাড়া আশেপাশের সকল স্থাপনার কাঁচ ভেঙে যায়। তবে এর ইফেক্টিভ ব্রাস্টিং রেঞ্জ অনেক কম। Concussion ইফেক্ট Fragmentation ইফেক্ট অপেক্ষা অনেক শক্তিশালী। এছাড়া এটি পানির নিচেও বিস্ফোরিত হয় এবং পানির ঢেউ এর তীব্র আলোরন সৃষ্টি করতে পারে যা ছোট খাট ডিফেন্স পেট্রোল বোট ডুবিয়ে দিতে সক্ষম।
Name:- MK3A2 grenade
Specifications:-
এটি একটি শক্তিশালী আলোরন গ্রেনেড এর ব্রাস্টিং এরিয়া ২মিটার।
(1) Body -- fiber (similar to the packing container for the fragmentation hand grenade).
(2) Filler -- 8 ouunces of TNT.
(3) Fuze -- M206A1 or M206A2.
(4) Weight -- 15.6 ounces.
(5) Safety clip -- yes.
.
Name:- M3 grenade
Specifications:-
এটিও আরেক ধরনের আলোরক গ্রেনেড এটির পাওয়ার আরো বেশি। ইউএস মিলিটারিতে ব্যপক ভাবে ইউজ হয়। এর ফিলার হচ্ছে, টিএনটি। ব্রাস্টিং এড়িয়া ৪মিটার।
------------------------------------------------------------------------------------------------------------------------------------
নাম শুনেই বুঝতে পারছেন কি ধরনের গ্রেনেড। অত্যান্ত শক্তিশালী এই গ্রেনেড গুলো ট্যাংক ধ্বংস করার জন্য ব্যবহৃত হয়। বিপুল বিধ্বংসী ক্ষমতার এই গ্রেনেড গুলো আসলেই অনেক ভয়াবহ।

এই গ্রেনেড গুলি ৭০-৯০টন ওজনের ট্যাংক গুলোকে মুড়ি মুড়কির মত ঊড়িয়ে দেয়। এবং প্রায় ১০০-১৫০মিটার পর্যন্ত এর ধ্বংসের আলামত রেখে যায়। চলুন দেখি এর ২-১টি সদস্য কে।
.

Name:- RKG 3 Grenade
Specifications:-
| Weight | 1.07 kg |
|---|---|
| Length | 362 mm |
| Effective range | 15–20 m |
| Filling | TNT/RDX with a steel lined shaped charge with 125 mm penetration of RHA and 20 m fragment radius. |
| Filling weight | 0.567 kg |
| Detonation mechanism | Impact fuze |
.

Name:- RPG-43 Grenade
Specifications:-
| Weight | 1.247 kg |
|---|---|
| Diameter | 95 mm |
| Filling | TNT shaped charge |
| Filling weight | 0.612 kg |
| Detonation mechanism | Inertial impact fuze |
.
Name:- Sticky Bomb
Specifications:-
এই গ্রেনেড গুলো ২য় বিশ্বযুদ্ধের সময় তুমুল জনপ্রিয় ছিল। জার্মান "টাইগার ট্যাংক" গুলো ধ্বংসে এগুলো ব্যপক ভাবে ইউজ হয়েছিলো। এগুলোর বডি বিশেষ ভাবে প্রস্তুত করা হয় যাতে কোন কিছুর উপর নিক্ষেপ করলে তার সাথে আটকে থাকে, এজন্যই একে স্টিকি বম্ব বলে।
| Filling | Nitroglycerine |
|---|---|
| Filling weight | About 1 lb |
| Detonation mechanism | Timed, 5 seconds |
-------------------------------------------------------------------------------------------------------------------------------
.
এই ধরনের গ্রেনেড গুলো সাধারনত ধোঁয়া উৎপন্ন করে। ধোঁয়া সাদা অথবা রঙিন হয়। শত্রুপক্ষকে আকস্মিক হতভম্ব করে দিতে এগুলো ইউজ হয়।
বিশেষ করে শত্রুপক্ষের আস্তানায় ঢুকার সময় এগুলো থ্রো করে আক্রমণ চালানো হয়।
Name:- M18 Colored Smoke grenade
Specifications:-
এটি একটি কমন স্মোক গ্রেনেড। প্রায় সব দেশের ডিফেন্স মিলিটারিদের কাছেই এটি আছে। এটি চারটি রঙের ধোঁয়া তৈরি করতে সক্ষম।
(1) Body -- sheet steel cylinder with four emission holes at the top and one at the bottom to allow smoke release when the grenade is ignited.
(2) Filler -- 11.5 ounces of colored smoke mixture (red, green, yellow, and violet).
(3) Fuze -- M201A1.
(4) Weight -- 19 ounces.
(5) Safety clip -- no.
(6) Capabilities -- can be thrown 35 meters by average soldier. The grenade produces a cloud of colored smoke for 50 to 90 seconds.
(7) Color/markings -- olive drab body with the top indicating the smoke color.
(8) Field expedient -- When employing the M18 or AN-M8 HC hand grenade, it may be desirable to use one of these grenades without the fuze. To do this, the following procedure should be used in combat only:
-
Name:- M16 White Smoke grenade
Specifications:-
এটিও আরেকটি জনপ্রিয় স্মোক গ্রেনেড। এটি সাদা রঙের ধোঁয়া তৈরি করে।
Empty weight with fuze : 177 gr
Heigth w/fuze M201 : 145mm
Height w/o fuze : 118mm
Diameter : 60mm
Empty weight with fuze : 177 gr
.
Name:- PFI Airsoft Smoke Grenade
Specifications:-
এটি আরেকটি জনপ্রিয় স্মোক গ্রেনেড। এটি গাড় সবুজ বর্নের ধোঁয়া তৈরি করে।
Smoke Colour:- Green
Empty weight with fuze : 150 gr
Heigth w/fuze M201 : 165 mm
Height w/o fuze : 130 mm
Diameter : 55 mm
Empty weight with fuze : 190 gr
--------------------------------------------------------------------------------------------------------------------------------
সবচেয়ে বিপদজনক গ্রেনেড যা টার্গেট ধ্বংসের পাশাপাশি পরিবেশের ব্যপক ক্ষয়ক্ষতি করে। এগুলো থেকে নির্গত হয় বিষাক্ত গ্যাস যা মানুষের নার্ভ, চোখ, লাংস এবং স্কীনের ব্যপক ক্ষতি করে এবং টার্গেটের একটি যন্ত্রনাদায়ক মৃত্যু নিশ্চিত করে থাকে। এর প্রভাব অনেকদিন পর্যন্ত পরিবেশে থাকে এবং পরিবেশের ব্যপক দূষণ ঘটায়। চলুন দেখে আসি এর কিছু সদস্য কে...........
.

Name:- AN-M8 HC Grenade
Specifications:-
![]()
এটি একটি মারাত্বক গ্যাস গ্রেনেড যা মারাত্বক ক্ষতিকর হাইড্রোক্লোরাইড গ্যাস নির্গত করে যা মানুষের লাংস ঝাঁজরা করে তিলে তিলে মৃত্যুর দিকে ঠেলে দেয়। এছড়া এটি চোখের ও ব্যপক ক্ষতি করে থাকে। এটি ১০৫ থেকে ১৫০ সেকেন্ড পর্যন্ত ধোঁয়া নির্গত করতে পারে। এবং এটির হাত থেকে বাঁচতে বিশেষ গ্যাস মাস্ক ইউজ করতে হয়।
(1) Body -- sheet steel cylinder.
(2) Filler -- 19 ounces of Type C, HC smoke mixture.
(3) Fuze -- M201A1.
(4) Weight -- 24 ounces.
(5) Safety clip -- no.
(৬) Color/markings -- light green body with black markings and a white top.
.
Name:- MSG Grenade
Specifications:-
| Weapon Type | Grenades |
| Damage | Area Effect |
| Range | Depends on Strenght |
| AP | 14 |
| Weight (lb) | 0.3 kg |

অন্যতম মারাত্বক গ্যাস গ্রেনেড হচ্ছে এটি।
এতে আছে ভয়ংকর মাস্টার্ড গ্যাস যা মানুষের চামড়ার সাথে সরাসরি বিক্রিয়া করে ভয়ানক ফোস্কার সৃষ্টি করে। অধিক মাত্রায় আক্রান্ত হলে মৃত্যু সুনিশ্চিত

Name:- M1917 Nerve Gas Hand Grenade
Specifications:-
এটি ২য় বিশ্বযুদ্ধের সময় ব্যপক ভাবে ইউজ হয়েছিলো। এই গ্রেনেডে আছে নার্ভ গ্যাস যা মানুষের নার্ভ এর উপর সরাসরি আক্রমণ করে। সময়মত চিকিৎসা না করালে মৃত্যু অনিবার্য।
- *নার্ভ গ্যাসে নিহত ব্যাক্তি
- *নার্ভ গ্যাস যেভাবে স্কিন সেল কে আক্রমণ করে
| Weight | 500g (M1914), 590g (M1914/30),[1], 780g with fragmentation sleeve |
|---|---|
| Length | 235mm |
| Diameter | 45mm |
| Filling | Nerve Agent |
| Detonation mechanism | Time-fuse, 4-5 seconds[1] |
---------------------------------------------------------------------------------------------------------------------------------

এগুলো এক ধরনের গ্যাস গ্রেনেড তবে এগুলো তে নন লিথাল কেমিক্যাল ইউজ করা হয়। সাধারনত দেশের দাঙ্গা পুলিশ বিক্ষোভকারীদের হটাতে এগুলো ইউজ করে। দাঙ্গা হাঙ্গামা প্রতিরোধে এটি ইউজ হয়। টিয়ার সেল ও এক প্রকার রায়ট কন্ট্রোল গ্রেনেড। এগুলো তে ইউজ হয় CS Gas যা টিয়ার গ্যাস নামে বেশি পরিচিত। এটির উপাদান 2-Chlorobenzalmalononitrile, chloropicrin সহ ইত্যাদি উপাদান যেগুলোর সংস্পর্শে এলে প্রচুর পরিমান চোখ জ্বালা শুরু হয় এবং নাক দিয়ে অনবরত পানি পড়ে এবং ভিকটিম কাবু হয়ে পড়ে। তো দেখুন এদের কয়েকটি সদস্য কে......................
Name:- DK-500 CS gas hand grenade
Specifications:-
এটি মোটামুটি জনপ্রিয় একটি গ্রেনেড তবে আমাদের দেশে পাওয়া যায় না।
Name:- ABC-M7A3 CS Hand Grenades
Specifications:-
পশ্চিমা বিশ্বে তুমুল জনপ্রিয় এই গ্রেনেডটি। এটির ব্যবহারও তুলনামুলক সহজ।
(1) Body -- the bodies of both grenades are sheet metal with four emission holes at the top and one at the bottom.
(2) Filler -- 5.5 ounces of burning mixture and 3.5 ounces of CS in gelatin capsules in the ABC-M7A2 grenade, and 7.5 ounces of burning mixture and 4.5 ounces of pelletized CS agent in the ABC-M7A3 grenade.
(3) Fuze -- M201A1.
(4) Weight -- approximately 15.5 ounces.
(5) Safety clip -- no.
(6) Capabilities -- can be thrown 40 meters by average soldier. Both grenades produce a cloud of irritant agent for 15 to 35 seconds.
(7) Color/markings -- gray body with a red band and red markings.

Name:- ABC-M25A2 CS Hand Grenades
Specifications:-
এটিও মোটামুটি জনপ্রিয়, তবে তুলনামুলক কম ইউজ হয়।
1) Body -- compressed fiber or plastic.
(2) Filler -- CS1 varies in weight and composition according to the type of agent contained in the grenade. All fillers are mixed with silica aerogel for increased dissemination efficiency.
(3) Fuze -- integral.
(4) Weight -- 8 ounces.
(5) Safety clip -- no.
(6) Capabilities -- can be thrown 50 meters by average soldier. The radius of burst (visible cloud agent) is about 5 meters, but grenade fragments may project as far as 25 meters.
(7) Color/markings -- gray body with red band and red markings.
-------------------------------------------------------------------------------------------------------------------------------
এই গ্রেনেড গুলো বিশেষ ধরনের এবং ফিল্ডে এর বহু রকম ইউজ আছে। এগুলোকে আগ্নেয় গ্রেনেড বলা হয় কারন এগুলো বিস্ফোরনের ফলে থ্রাস্ট খুব কমই সৃষ্টি হয়

সবচে বেশি সৃষ্টি হয় বিপুল পরিমান তাপ (৩৫০০-৫০০০ ডিগ্রি ফারেনহাইট) যা লোহা পর্যন্ত বাস্পীভুত করে দেয় আর এ কারনেই এগুলোকে খুব সাবধানে হ্যান্ডেল করতে হয়। কারন সেফটি পিন একটু অসাবধানতাবশত খুলে গেলে পরিনত হতে হবে হিউম্যান গ্রিলে। এগুলোতে ইউজ হয় থার্মিট পাউডার যা হচ্ছে ধাতব অ্যালুমিনিয়াম পাউডার, গান পাউডার সহ বিভিন্ন বিস্ফোরকের আনুপাতিক মিশ্রণ যা উচ্চ তাপমাত্রা সৃষ্টি করতে সক্ষম। শত্রু পক্ষের প্রয়োজনীয় ধাতব যন্ত্রপাতি গলিয়ে ধ্বংস করতেও এর বহুল ব্যবহার হয়। দেরী না করে চলুন দেখি এর ২-১টি সদস্য কে। এই গ্রুপের সব গ্রেনেড একই প্রকৃতির এবং স্প্যাসিফিকেশন মোটামুটি একই।
.

Name:- AN-M14 TH3 incendiary hand grenade
Specifications:-
US আর্মিতে তুমুল জনপ্রিয় এই গ্রেনেডটি। এটি বিস্ফোরনের সময় আশেপাশের ২মিটার এলাকায় ৪০০০ডিগ্রি ফারেনহাইট তাপমাত্রার সৃষ্টি করে যা লোহা পর্যন্ত বাস্পীভুত করে ফেলে।

শত্রুপক্ষের ভেইকেল, ওয়েপন সিস্টেম, শেল্টার অথবা বাংকার পুড়িয়ে ছাই করে ফেলে। শত্রুপক্ষের কাছে এক মুর্তিমান আতঙ্কের নাম এটি। নিক্ষেপকারীকে ও খুব সাবধানে এটি নিক্ষেপ করতে হয়।
(1) Body -- sheet metal.
(2) Filler -- 26.5 ounces of thermate (TH3) mixture.
(3) Fuze -- M201A1.
(4) Weight -- 32 ounces.
(5) Safety clip -- no.

Name:- CTS-M-14 Incendiary Grenade
Specifications:-
এটিও মোটামুটি জনপ্রিয় থার্মিট গ্রেনেড কার্যকারীতা আগেরটার কাছাকাছি।

Name:- CTS-M-14 Incendiary Grenade
Specifications:-
আগের গুলোর মতই। এটি ১২.৭মিমি পুরু স্টিলের পাত গলিয়ে ফেলতা পারে।
---------------------------------------------------------------------------------------------------------------------------------
গ্যাস গ্রেনেডের মত এই কেমিক্যাল গ্রেনেড গুলো অত্যান্ত ক্ষতিকর এবং পরিবেশের ব্যপক ক্ষয়ক্ষতি করে থাকে। কেমিক্যাল গ্রেনেডে ইউজ হয় অত্যান্ত বিষাক্ত ক্ষয়কারক সব ক্ষতিকর কেমিক্যাল যা টার্গেট ধ্বংসের সাথে সাথে পরিবেশের ব্যপক দুষন ঘটায়। সম্প্রতি কিছু কিছু দেশ এইসব কেমিক্যাল ওয়েপনের উপর নিষেধাজ্ঞা আরোপ করেছে। চলুন দেখে আসি এর কিছু ভয়ংকর সদস্যকে।

Name:- M15 White Phosphorous grenade
Specifications:-
(1) Body -- sheet metal.
(2) Filler -- 15 ounces of white phosphorus.
(3) Fuze -- M206A2.
(4) Weight -- 31 ounces.
অত্যান্ত ভয়ংকর এই গ্রেনেডটি বিভিন্ন দেশের ইউএস মিলিটারিতে অনেক জনপ্রিয়। এটির মুল উপাদান হচ্ছে হোয়াইট ফসফরাস যা একটি বিষাক্ত দাহ্য কেমিক্যাল।


- *দেখুন এর ভয়াবহতা কি রকম হতে পারে, চোখে পানি চলে আসার মতন
এই উপাদানটি চামড়ার সংস্পর্শে এলে চামড়ার সাথে বিক্রিয়া করে চামড়াকে ভয়ংকরভাবে পুড়িয়ে দেয় এবং পরবর্তিতে বিষাক্ত ঘাঁ সৃষ্টি হয়।
গ্রেনেডের বিস্ফোরনও অত্যান্ত ভয়াবহ। এর ২০মিটার ব্যসার্ধের এরিয়ায় যে থাকবে তার মৃত্যু সুনিশ্চিত।

১৫০মিটার এরিয়া পর্যন্ত এটি ভিকটিমকে আহত করতে পারে। এটির বার্নিং থেকে বাঁচার সবচে ভালো উপায় হচ্ছে আক্রান্ত স্থানে কপার সালফেট বা তুঁতে মিশানো পানি লাগানো।
.

Name:- M34 White Phosphorous grenade
Specifications:-
এটিও আরেকটি জনপ্রিয় ফসফরাস গ্রেনেড তবে এর ব্যবহার তুলনামুলক কম।
Body. The M34 WP grenade body is compressed fiber or plastic sphere.
Filler. The filler has 15 ounces of white phosphorous.
Fuze. The fuze is an M206A2.
Weight. The grenade weighs 27 ounces.
Name:- MH 214 Acid Grenade
Specifications:-
এই গ্রেনেডটি তেমন জনপ্রিয় নয় তবে মারাত্বক। কিছু দেশে এর ইউজ আছে তবে তেমন একটা ব্যবহার হয় না।

এর ফিলার হচ্ছে অত্যান্ত ঘন প্রায় জেলির মত ফিউমারিক সালফিউরিক এসিড। যা চামড়া পুড়িয়ে দেবার সাথে সাথে এর ধোঁয়া লাংসের ব্যপক ক্ষতি করে। এই গ্রেনেডও খুব সাবধানে হ্যান্ডেল করা লাগে।
Body. The MH 214 Acid Grenadebody is compressed fiber or plastic sphere.
Filler. The filler has 250ml of sulfuric Acid .
Fuze. The fuze is an M206A2.
Weight. The grenade weighs 40 ounces.
--------------------------------------------------------------------------------------------------------------------------------------
এগুলো বিশেষ ধরনের গ্রেনেড। এগুলো ডেটোনেশনের সাথে সাথে তীব্র আলোর ঝলকানিএবং ১৭০-১৯০ডেসিবল শব্দ উৎপন্ন করে
যা টার্গেট কে সম্পুর্ন রুপে হতভম্ব করে দেয় এবং শ্রবণশক্তি কয়েক মিনিটের জন্য স্তব্ধ করে দেয়। তবে এই ক্ষতি সাময়িক, কিছুক্ষন পর ঠিক হয়ে যায়। এছাড়া অন্ধকার ফিল্ডে আলোর উৎস হিসাবে এটি ইউজ হয়। চলুন দেখে আসি এর কিছু সদস্যকে..........
Name:- XM84 Stun Grenade
Specifications:-
সবচে বেশি জনপ্রিয় ফ্যাশ গ্রেনেড বেশিরভাগ দেশের ডিফেন্স মিলিটারি এটি ইউজ করে থাকে।
| Weight | 8.33 ounces (236 g) |
|---|---|
| Length | 5.25 inches (133 mm) |
| Diameter | 1.73 inches (44 mm) |
| Filling | magnesium/ammonium nitrate pyrotechnic mix |
| Filling weight | 0.16 ounces (4.5 g) |
| Detonation mechanism | M201A1 time-delay fuse (1.0 to 2.3 seconds) |
| Blast yield | 170–180 dB and 6–8 million Candela within a 5-foot (1.5 m) radius |
Name:- TMC FLASH BANG GRENADE
Specifications:-
| Major Color | Black |
|---|---|
| Major Built Material | Metal |
| Size | N/A |
| Item with Packing Weight (gram) | 300.0000 |
.

Name:- M70 FB FLASH BANG
Specifications:-
| Damage Per Hit |
|
| Usage | |
|---|---|
| Era(s) | Necros War |
| Affiliation | UNSC |
6---------------------------------------------------------------------------------------------------------------------------------------------6
এই টিউনটি অনেক সময় নিয়ে (প্রায় দুই সপ্তাহ) , যথাসম্ভব গুছিয়ে করার চেষ্টা করেছি। কতটুকু পেরেছি তা আপনারা ভাল বলতে পারবেন। কোন ভুল ত্রুটি হলে ক্ষমা সুন্দর চোখে দেখবেন এবং একটা অনুরোধ, ভাল মন্দ যে কোন ধরনের কমেন্ট এবং গঠনমুলক সমালোচনা বেশি বেশি করবেন,যার ফলে এই টিউনের ভুল গুলো আমার চোখে পরবে এবং নেক্সট টিউনে সেগুলো শুধরে নেওয়ার চেস্টা করবো ফলে ভবিষ্যতে আরও ভাল টিউন আপনাদের উপহার দিতে পারব।
ভাল থাকবেন।ধন্যবাদ সবাই কে।
আকাশ
আমার আগের টিউন গুলি দেখতে এখানে ক্লিক করুন।
সিরিজের আগের টিউন গুলো দেখুন,
১. চলুন ঘুরে আসি ফায়ার আর্মসের দুনিয়া থেকে এবং দেখে আসি দুনিয়ার তাবৎ অস্তর সস্তর আর হয়ে যাই ছোটখাট সামরিক বিশেষজ্ঞ ( আমার ৫০তম টিউন & The biggest Tune of the Techtunes History)
২. সুপার হেভিওয়েট ফায়ার আর্মস (পর্ব-২), আজ দেখবেন রকেট লাঞ্চার এবং শোল্ডার ক্যারিয়েবল মিসাইলের ধ্বংসযজ্ঞ, যা আপনাদের কল্পনার একটু উপরে। (মেগা টিউন)
৩. সুপার হেভিওয়েট ফায়ার আর্মস (পর্ব-৩), আজ দেখবেন বিধ্বংসী ভুমি মাইনের ধ্বংসলীলা (গিগা টিউন)
আমি শুভ্র আকাশ। বিশ্বের সর্ববৃহৎ বিজ্ঞান ও প্রযুক্তির সৌশল নেটওয়ার্ক - টেকটিউনস এ আমি 15 বছর 12 মাস যাবৎ যুক্ত আছি। টেকটিউনস আমি এ পর্যন্ত 72 টি টিউন ও 1922 টি টিউমেন্ট করেছি। টেকটিউনসে আমার 1 ফলোয়ার আছে এবং আমি টেকটিউনসে 0 টিউনারকে ফলো করি।
যেখানে বিতর্ক সেখানেই মজা 🙂 আমার কাছে ভাল লেগেছে। যেহেতু কিভাবে গ্রেনেড তৈরী করা হয় টিউনে তা শেখানো হয় নি শুধু কার্যকারিতার বর্ণনা দেওয়া হয়েছে সুতরাং এতে খারাপ কিছু দেখি না।
আর আকাশ ভাইকে বলছি, টিউন করলে অনেকের সাথে মতপার্থক্য হতেই পারে এটা নিয়ে অন্য টিউনে ঘাটাঘাটি না করাই ভাল।
*** সবাইকে ঈদ মোবারক*** 😀