
আসসালামুয়ালাইকুম ,সবাইকে প্রিতি ও শুভেচ্ছা জানিয়ে আমার এবারের টিউন শুরু করছি । এটা আমার ২য় টিউন।আগেরটিতে আপনাদের ব্যাপক সারা ও উত্সাহ পেয়েছি ,তাই আবার শুরু করলাম। আমার আগের টিউন এই আপনার হাতের মোবাইল দিয়ে সব কিছু নিয়ন্ত্রন করুন মাত্র ৭০ টাকায়
আজ আপনাদের সাথে যে প্রজেক্ট নিয়ে শেয়ার করব সেটি গত বছর পরমাণু শক্তি গবেষণা প্রতিষ্ঠান এ আমি থিসিস করতে গিয়ে যে কয়েককটি প্রজেক্ট জমা দিয়েছিলাম তাদের মধ্য একটি। ডিভাইসটি খুব কাজের।বর্তমানে আমাদের দেশে বিদ্যুৎ লাইনে যে পরিমাণ Voltage Up-Down হয় তাতে কোন যন্ত্র সঠিক ভাবে চালান মুশকিল।আমি আশা করব আমার এই ডিভাইসটি আপনারা নিজেরা তৈরী করে উক্ত সমস্যা হতে কিছুটা হলেও মুক্তি পাবেন। আর এর দ্বারা আপনারা উপকৃত হলে, তবেই আমার পরিশ্রম সার্থক হবে ।
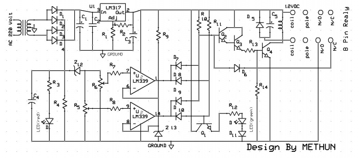
আমাদের বাসাবাড়ি তে অনেক ধরনের (Application) থাকে যেমন-টিভি,ফ্রিজ,কম্পিউটার ইত্যাদি। এগুলো Electronic Device যা High Voltage এবং Low Voltage এ চলতে পারে না। এদের Operating Voltage নির্দিষ্ট থাকে। ফলে Voltage বেশি অথবা কম হলে যন্ত্র টি নষ্ট হয়ে যায়। আর এই সমস্যা হতে রক্ষা পেতে দরকার একটি Voltage Protector যা মার্কেট এ কিনতে গেলে খরচ হবে আপনার ১৫০০ টাকা হতে ২০০০ টাকা। আজ আমি আপনাদের এমন একটি Circuit Diagram দিব যা দিয়ে আপনি মাত্র ২০০ টাকায় একটি AUTO Voltage protector বানাতে পারবেন। এখানে সার্কিট ডায়াগ্রামটি দিয়ে দিলাম।
- সার্কিট ডায়াগ্রাম:-

পাটর্স লিষ্ট
১। Diode (D1-D11)= 1N4007 ১১টী
২। Transformer (step down 18V-0-18V) ১টী
৩।Transistor(Q1-Q4)= BC 337 ৪টী
৪।Relay (12VDC 8pin square size) ১টী
৫।Relay Base (8 Pin)১টী
৬।Zener Diode (Z12-Z13)=7.5V,2.7V ২টী
৭।Variable Resistor (R5-R6) =22k ২টী
৮। IC (U1)=LM 317T ১টী
৯। IC (U2)=LM339N ১টী
১০।LED1-LED2(red&green)
১১। Resistor:
R1=1.9K
R2=220
R3 –R4 =1K
R7=10K
R8=10K
R9=1K
R10-R11 =1M
R12=10
R13=100K
R14=1K
১২। Capacitor:
R13=100K
R14=1K
১২। Capacitor:
C1=1000µF/50V
C2=100nF
C3=1µF/50V
C4=220µF/50V
C5=220µF/50V
আপনাদের সুবিধার জন্য আমি PCB Layout দিয়ে দিলাম- PCB Layout:-
PCB Layout board Bottom view:-
PCB Layout board Top view:-
PCB ড্রিল পয়েন্ট
Drill hole:-
সার্কিট এর সংক্ষিপ্ত মূল কাজঃ
১। এখানে Power Section এ ডায়োড (D1-D4) দিয়ে ফুলওয়েব রেকটিফায়ার করা হয়েছে।কিন্তু এটা দেখতে ব্রীজ রেকটিফায়ার এর মত। আপনারা কেউ ব্রীজ ভাববেন না। একটু খেয়াল করলেই বুঝতে পারবেন এখানে ৪টী ডায়োড দিয়ে ২টী ফুলওয়েব রেকটিফায়ার তৈরি করা হয়েছে যার একটিPower Section এ এবং অন্যটি Comparator Section এ ব্যবহার করা হয়েছে। 
২। IC (U1)LM317T একটি আ্যডজাষ্টটেবেল ভোল্টেজ রেগুলেটর।যা R1 দিয়ে আ্যডজাষ্ট করা হয়েছে।
৩। এখানে IC(U2)LM339 একটি ১৪ পিন বিশিষ্ট Comparator IC যার ৬নং এবং ৮নং পিন এ Z13 দিয়ে রেফারেন্স ভোল্টেজ প্রদান করা হয়েছে।৭নং এবং ৯নং পিন এ R5,R6 ২টী Variable Resistor ব্যবহার করা হয়েছে যার দ্বারা ডিভাইসটির Working Voltage Control করা হয় অথ্যাৎ Highএবং Low Voltage Set করা হয়। ৪। এখানে ডায়োড (D7-D10) দিয়ে AND Gate তৈরি করা হয়েছে। আপনারা ইচ্ছা করলে AND Gate IC 4081 ব্যবহার করতে পারবেন।
৫।এখানে Q2-Q4 ৩টী সুইচিং ট্রানজিষ্টর ব্যবহার করা হয়েছে রীলেকে সুইচিং করার জন্য ।
৬।এই সেকশনটি লাল এলইডি এবং সুইচিং স্ট্যাটাস ইন্ডিকেট করার জন্য ব্যবহার করা হয়েছে।
উক্ত সার্কিট নিয়ে বিস্তারিত লিখতে গেলে পুরো একটা বই লেখা যায়। কিন্তু তা এখানে সম্ভব না।তাই এখানে সার্কিট এর মুল কাজ তুলে ধরা হল। আপনাদের কোন সমস্যা আমাকে জানাবেন সমাধান দেয়ার চেষ্টা করবো। উক্ত সার্কিট নিয়ে বিস্তারিত লিখতে গেলে পুরো একটা বই লেখা যায়। কিন্তু তা এখানে সম্ভব না।তাই এখানে সার্কিট এর মুল কাজ তুলে ধরা হল। আপনাদের কোন সমস্যা আমাকে জানাবেন সমাধান দেয়ার চেষ্টা করবো। সবশেষে আমি বলব মানুষ ভুল ত্রুটির উর্ধে নয় তাই আমার অনেক ভুল হতে পারে। সেগুলো দয়া করে ক্ষমার চোখে দেখবেন এবং আমাকে জানাবেন। টেকটিউনস আমার খুব প্রিয় একটি সাইট।এখানে ইলেকট্রনিক্স বিভাগ আছে বলে আমার টিউন করতে সুবিধা হল। কারন অন্য সব বিষয়গুলো সম্পর্কে আমি একেবারে অজ্ঞ কিছুই জানি না। তাই ইলেকট্রনিক্স সম্পর্কে এবং আমার তৈরী প্রজেক্ট এবং অন্যান্য মজার মজার প্রজেক্টগুলো সম্পর্কে পর্যায়ক্রমে আপনাদের সাথে শেয়ার করব ।
অনেক এ আমার ল্যাব এর ছবি দেখতে চেয়েছেন তাই ছবি টি এখানে দিলাম ।
কোন ব্যাক্তি বা প্রতিষ্ঠান ব্যাক্তিগত বা ব্যবসায়িকভাবে PCB LAYOUT ডিজাইন করাতে চাইলে [email protected]এই ঠিকানায় ইমেইল করবেন।
আমি মিথুন। বিশ্বের সর্ববৃহৎ বিজ্ঞান ও প্রযুক্তির সৌশল নেটওয়ার্ক - টেকটিউনস এ আমি 14 বছর 11 মাস যাবৎ যুক্ত আছি। টেকটিউনস আমি এ পর্যন্ত 10 টি টিউন ও 124 টি টিউমেন্ট করেছি। টেকটিউনসে আমার 0 ফলোয়ার আছে এবং আমি টেকটিউনসে 0 টিউনারকে ফলো করি।
জটিল……টিউনটি। কার্যপ্রণালীও……।
কয়েক বছর পড়াশুনা করতে হবে বিষয়টি নিয়ে
তারপর বানানোর চিন্তা ভাবনা….
ধন্যবাদ ভাই।